narkata

PlayStation 4 (bendra tema įvairiems klausimams)

Rekomenduojami pranešimai

Daugiau foto, taip pat ir galas

 

Nuotrauka

 

Nuotrauka

 

Nuotrauka

 

Nuotrauka

Tai kur tas apvalus grilis vis dėlto? :nsure:

 

HDD upgreidint galima bus

Nuotrauka

Redagavo GYNGA

Dalintis šiuo pranešimu


Nuoroda į pranešimą
Dalintis kituose puslapiuose

O kamera bus komplekte už tuos 400 eurų ar bus galima nusipirkti atskirai?

 

Priklausys nuo retailer'iu. Siuo metu vieni raso, kad bus, kiti - ne.

Laikas pasakys.

 

Nuotrauka

Redagavo Tii

Dalintis šiuo pranešimu


Nuoroda į pranešimą
Dalintis kituose puslapiuose

Po E3, manau, kad PS4 bus tikrai geriau negu XOne. Sony :notworthy:

  • Patinka 1

Dalintis šiuo pranešimu


Nuoroda į pranešimą
Dalintis kituose puslapiuose

jei kam nors Idomu, tai cia gametrailers.com (kazkodel neatsidaro normaliai linko) rasoma, kad Ps4 kamera bus parduodama atskirai,jos kaina bus 59 $.

Redagavo Ripstick

Dalintis šiuo pranešimu


Nuoroda į pranešimą
Dalintis kituose puslapiuose

Atsiminiau dar viena dalyka, del ko labai PS4 keliu pries x360:

Controlleriai tures earphone jack'a. t.y. galesime pasijungti bet kokias ausines tiesiogiai i controlleri. Senos naujienos, bet atsiminiau ir savo pradziuginau vel.. :rolleyes:

  • Patinka 1

Dalintis šiuo pranešimu


Nuoroda į pranešimą
Dalintis kituose puslapiuose

Krc, PS4 bent klausosi savo fanų, ta E3 vieta kai pasakė kad galės naudotis Used games labai pradžiugino + Geresnis ir pigesnis už Xone

 

PS4 - 399 $

Xbox One - 499 $

Dalintis šiuo pranešimu


Nuoroda į pranešimą
Dalintis kituose puslapiuose

Ne į temą

Na mano atvėju belieka sulaukti kol išdraskys skersai išilgai tą x86 architektura (o ilgai manau netruks žinant tai jog hackeriai tą x86 žino kaip savo 5 pirštus) ir bus galima isirasyti cfw, tada iškart iki artimiausios parduotuvės lėksiu :pirate2:

Dalintis šiuo pranešimu


Nuoroda į pranešimą
Dalintis kituose puslapiuose

Ne į temą

Na mano atvėju belieka sulaukti kol išdraskys skersai išilgai tą x86 architektura (o ilgai manau netruks žinant tai jog hackeriai tą x86 žino kaip savo 5 pirštus) ir bus galima isirasyti cfw, tada iškart iki artimiausios parduotuvės lėksiu :pirate2:

 

Ne į temą

Mano pasirinkima manau irgi lems kuria konsole pirma nulaus.

Dalintis šiuo pranešimu


Nuoroda į pranešimą
Dalintis kituose puslapiuose

Ne į temą

Na mano atvėju belieka sulaukti kol išdraskys skersai išilgai tą x86 architektura (o ilgai manau netruks žinant tai jog hackeriai tą x86 žino kaip savo 5 pirštus) ir bus galima isirasyti cfw, tada iškart iki artimiausios parduotuvės lėksiu :pirate2:

 

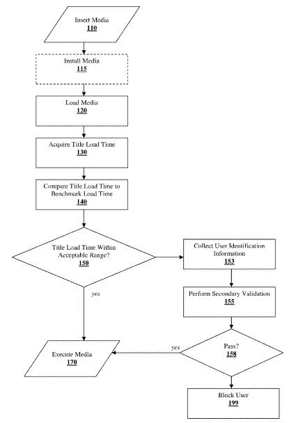
Nulauzti gal ir nebus ka veikti palyginus, taciau jau kelis kartus rasiau, bet Sony turi patenta kur fiksuojamas zaidimu krovimosi laikas ir taip galima aptikti piratini soft'a :pirate2:

EDIT: Radau patenta.

 

Nuotrauka

 

Using total benchmark load time:

For example, if an authentic game title is distributed exclusively on BDs having a total benchmark load time of 45 seconds on a game console BD drive, the acceptable range of load times could be from 40 to 50 seconds. Thus, a total measured title load time of 4 seconds would be outside of the acceptable range of total load times for a legitimate media type.

 

Seek time:

In another example, if an authentic game title is distributed exclusively on flash drives having a total benchmark load time of 5 seconds, the acceptable range of load times could be from 4 to 6 seconds. However, an illegitimate game product embodied on a hard disk may also have a total measured title load time of 5 seconds, which would be within the acceptable range of total load times for a legitimate media type. In this instance, each segment of the benchmark load time can be compared to the corresponding segment of the title load time to differentiate between the media types, again using threshold ranges. For example, a benchmark seek time associated with the flash drive could be 150 milliseconds, with an acceptable seek time range of 130 milliseconds to 170 milliseconds. Thus, a measured title seek time of 10 ms associated with the hard disk drive would be outside of the acceptable range of seek times for a legitimate media type.

 

Throughput:

In another example, a benchmark throughput associated with loading the media product from a flash drive could be 30 megabytes per second, with an acceptable throughput range of 20 megabytes per second to 40 megabytes per second. Thus, a measured title throughput of 100 megabytes per second associated with loading the media on a hard disk drive would be outside of the acceptable range of throughput for a legitimate media type.

Redagavo Tii
  • Patinka 1

Dalintis šiuo pranešimu


Nuoroda į pranešimą
Dalintis kituose puslapiuose

Na, dizaino tikėjausi gražesnio, kai tik pamačiau, tai iškart pagalvojau, kad 2 ps2 slim suklijavo :D Bet šiaip, ps4 turėtų paimti rinką, tikrai sony suprato anksčiau padarytas savo klaidas ir dabar jas kuo puikiausiai tvarko, toks jausmas, kad pagaliau grįžta ant tų bėgių ant kurių visą laiką važiavo pirmasis ir antrasis Playstation Nuotrauka Galima drąsiai sakyti: SONY ATSIGAUNA !

Dalintis šiuo pranešimu


Nuoroda į pranešimą
Dalintis kituose puslapiuose

Naudotojo interfeisą parodė Sony atskirai po prezentacijos (nuo 2:41:10):

Dalintis šiuo pranešimu


Nuoroda į pranešimą
Dalintis kituose puslapiuose

O tu velnias, dabar tik pastebėjau nuotraukose, kad ps4 nebeturi paprastos AV išėjimo Nuotrauka O jeigu aš varysiu pas savo močiutės į kaimą, o ten tik 10 metų senumo LG tv yra, kurio geriausia jungtis yra paprasta Audio ir Video jungtis, ką tada aš darysiu? Nuotrauka

Dalintis šiuo pranešimu


Nuoroda į pranešimą
Dalintis kituose puslapiuose

Visada nepatenkintų bus :D Dabar irgi visi skundžiasi, kad HDMI laido nekomplektuoja su PS3. Įdės HD laidą, skųsis, kad AV nėra. Ką padarysi, next-gen visgi. Teks vežti ir teliką kartu su konsolę :D Nepamiršk, kad su Xbone išvis tik 24val. pažaistum, nors ir turėtų AV laidą :okay:

Redagavo tymbarkFM

Dalintis šiuo pranešimu


Nuoroda į pranešimą
Dalintis kituose puslapiuose

na va ka sakiau PS3 uk dabar apie 250 svaru eina priklausomai nuo komplektacijos ..tai PS4 kainuos tik 350 svaru .. :spit::run: perfecto

Redagavo scalman

Dalintis šiuo pranešimu


Nuoroda į pranešimą
Dalintis kituose puslapiuose
Svečias
Ši tema yra užrakinta ir joje nebegalima rašyti naujų pranešimų.